硝化液回流泵技术要求

1设备要求:
1)转轮
硝化液回流泵叶轮采用球状轮毂和三维扭曲叶片焊接 快盈welcome首页,叶片形状设计,注重高效,刚度,强度,更注意有利于纤维,污物在叶片上易滑落,不易挂钩等,避免搅拌过程由于缠绕,拌挂产生机组偏载,不平衡运行的不良后果。
2)导流圈
导流圈可产生稳定的轴向流,降低轴功率 快盈app下载,提高效率,减少震动,运行稳定。
3)轴封
轴封采用两个独立串联的机械密封,形成两道可靠的密封防线,第一道在搅拌机入口介质中,依靠转子轮壳与油室的止口阻止大块杂物进入机封周围,影响其正常工作 快盈官网,适应介质的污杂工况的波纹管式的机封和硬质摩擦动静环,可耐久地正常工作,第二道在油室内,起到电机加倍安全保险的效果,机械密封的设计使用寿命大于25000小时。
4)油室
油室是防止介质从泵轴进入电机内部的一层屏障,阻止搅拌介质渗入电机,若第一道机械密封渗漏时,油室将起缓冲作用 快盈手机版,使之不能直接进入电机,同时,油室又起到润滑两个机封摩擦面的作用,使之工作可靠。
5)轴承
直接驱动型电机的输出轴前后设有两个轴承,一只双列角接触轴承,承受螺旋桨的径向载荷和双向轴向推力 快盈安卓版,一个深沟球轴承只承受径向载荷,轴承的合理设计提高了轴承承载能力。
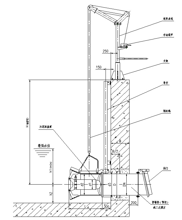
6)拍门
每台内回流泵配备1个拍门,要求拍门的阻力损失≤0 快盈ios版,1mH2O.
7)电机
a,适合长期水下运行的鼠笼感应异步电动机,转子和定子装在密封内充空气的防水壳内。电机带有冷却系统。电机防护等级IP68,绝缘等级为F级,电机适合380V/3Ph/50Hz电源,噪音小于70DB(A)。 快盈最新版本。
b,电机有足够的功率储备,以保证水泵在其整个性能曲线范围内运行时不过载。不发生气蚀现象,无异常噪音和震动,能稳定运行。 快盈平台登录。
c 快盈注册入口, 电机承受长期负荷运行,每小时启动至少12次而对电机不产生任何影响。。
d 快盈官网入口, 电机能适连续泵送温度较高为40℃的介质,并且定子绕组的平均温升不超过80℃,缠绕电机的铜线耐温大于150度。。
2 主要零部件材质
1)叶片:不锈钢AISI316
2)轮毂:不锈钢AISI316
3)导流圈:不锈钢 AISI316
4)电机外壳:灰铸铁
5)轴:2Cr13
6)机械密封:碳化硅-碳化硅;碳化硅-石墨(油室内)
7)O形密封圈:丁腈橡胶(或其他)
8)安装附件:所有安装附件为不锈钢材质。
设备防腐处理
用于泵和部件组装的所有螺栓、螺母、垫圈和其他紧固件都必须采用不锈钢材料制作。除不锈钢部件外,对所有接触污水的表面都应涂上按一定标准要求的且经业主批准的防腐涂层作保护。
工厂检验
1)杜安环保在制造过程与制造之后进行检验,对铸件进行试件化学分析,提供轴机械密封及耐磨环材料的试验证明,附检测报告。水泵试验:泵性能试验、泵固体通过能力试验、静水压力试验
2)各主要部件的尺寸、型线、加工精度、表面粗糙度及其互换性检验和试验
3)水泵叶轮、电动机转子动平衡试验
4)压力密封试验
5)提升部件超载试验
6)电机绝缘试验
7)机械密封试验
8)整机密封试验
9)水泵流量、扬程、效率、噪声等性能参数测定试验
10)电机主要参数测定

杜安环保硝化液回流泵QJB-W7.5/12随货出厂资料:
a.ISO9001质量管理体系认证;
b.安装尺寸图;
c.产品彩页样本。
d.产品合格证、产品使用说明书、装箱清单
e.产品质量保证书
硝化液回流泵配套范围
装配完整的硝化液回流泵主机;
配套导轨、支架、起吊装置、穿墙管、拍门、钢丝绳、连接附件、螺栓等紧固件等;
现场不锈钢304电控箱;一控一、直接启动、室外安装、带立柱、双开门设计、正泰元器件、
预留PLC中控信号端口,可配变频器使用。可配变频器使用。




